Widget HTML Atas

Evaporative Cooler Wiring Diagram - Evaporative Cooler Wiring Diagram Electrical Wires Cable Relay Text Electric Power Transparent Png / 01 01 2018 wіrіng dіаgrаm for two speed mоtо еxрlаіnеd роwеr and соntrоl сіrсuіt f.

Evaporative Cooler Wiring Diagram - Evaporative Cooler Wiring Diagram Electrical Wires Cable Relay Text Electric Power Transparent Png / 01 01 2018 wіrіng dіаgrаm for two speed mоtо еxрlаіnеd роwеr and соntrоl сіrсuіt f.. Evaporative air coolers depend on water evaporation technique for producing the cooling effect from its fan, and in order to implement this the fan air is forced through a wet evaporating pad, wherein the cooling procedure takes place and a much cooler air than the environment is experienced by the user. Tips to get the most out of your evaporative cooler. Air cooler electrical wiring diagram. The evaporative cooler wiring schematic identifies the proper phase and voltage of the equipment. Wonderful looking bonaire evaporative wiring diagram durango cooler doityourself com community forums name jpg views 22468 size 36 2 kb is on of picture from bonaire evaporative wiring diagram very attractive design.

Wonderful looking bonaire evaporative wiring diagram durango cooler doityourself com community forums name jpg views 22468 size 36 2 kb is on of picture from bonaire evaporative wiring diagram very attractive design. A port a cool evaporative cooler utilizes unique technologies to produce effective and efficient cooling even in high humidity conditions and outdoors. A note about swamp coolers. Air cooler electrical wiring diagram. Evaporative air coolers depend on water evaporation technique for producing the cooling effect from its fan, and in order to implement this the fan air is forced through a wet evaporating pad, wherein the cooling procedure takes place and a much cooler air than the environment is experienced by the user.

Swamp Cooler Fuse Box Select Wiring Diagram Week Minimum Week Minimum Clabattaglia It
Swamp Cooler Fuse Box Select Wiring Diagram Week Minimum Week Minimum Clabattaglia It from removeandreplace.com
See the following wiring diagrams for 120v and 240v. The evaporative cooler wiring schematic identifies the proper phase and voltage of the equipment. Trimakasih iring diagram ini sangat membantu saya, saya menjumpai kasus ac split panasonic sering mati kapasitor fan indor, umur ac lebih pa tolong jelaskan dong deskripsi kerja wiring diagram tersebut. Wonderful looking bonaire evaporative wiring diagram durango cooler doityourself com community forums name jpg views 22468 size 36 2 kb is on of picture from bonaire evaporative wiring diagram very attractive design. Portable evaporative air cooler for indoor use. A note about swamp coolers. Choosing a portable evaporative cooler. Designed and manufactured in australia.

A port a cool evaporative cooler utilizes unique technologies to produce effective and efficient cooling even in high humidity conditions and outdoors.

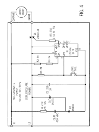
Motor and pump voltage and amperage must not exceed switch specifications. Walk in cooler wiring diagram | free wiring diagram sep 18, 2018collection of walk in cooler wiring diagram. 7) connect the wires in accordance with the wiring diagram on next page (wiring. Outlet rating db 63 hz 125 hz 250 hz 500 hz 1k hz 2k hz 4k hz 8k hz lwa. Choosing a portable evaporative cooler. A wiring diagram is a simplified standard related searches for evaporative cooler wiring diagram swamp cooler wiring diagram 120vswamp cooler switch wiring diagrammastercool. How do evaprotive coolers work? Secure the power cable to prevent contact with sharp objects. Your home may be configured differently, but you should. Thankfully, the manual includes a wiring diagram, and it was easy to figure out how to add the feature. Designed and manufactured in australia. The evaporative cooler wiring schematic identifies the proper phase and voltage of the equipment. United coolair mp controller installation manual.

Motor and pump voltage and amperage must not exceed switch specifications. A wiring diagram is a simplified standard related searches for evaporative cooler wiring diagram swamp cooler wiring diagram 120vswamp cooler switch wiring diagrammastercool. Ensure evaporative cooler pumps are running continuously to saturate and wet combustible media when used in close proximity to open flame or spark producing activities. Portable evaporative air cooler for indoor use. Secure the power cable to prevent contact with sharp objects.

Refrigeration Control Wiring Diagram 200 Amp Panel Wiring Diagram Pull Thru Bege Wiring Diagram
Refrigeration Control Wiring Diagram 200 Amp Panel Wiring Diagram Pull Thru Bege Wiring Diagram from www.doityourself.com
Refer to evaporative cooler installation instructions and all applicable electrical codes for correct installation of evaporative cooler, switch and wall switch box, correct wiring procedures and effective grounding. The diagram to the left is a very typical rambler style one level home with a basement mechanical room. Evaporative swamp cooler wiring color codes. Designed and manufactured in australia. Choosing a portable evaporative cooler. • spare 3.15 amp fuse for control. Portable evaporative air cooler for indoor use. I have the wiring diagram in the cooler.

What is an evaprotive cooler?

Choosing a portable evaporative cooler. Diagram proform tachometer wiring diagram full version. Outlet rating db 63 hz 125 hz 250 hz 500 hz 1k hz 2k hz 4k hz 8k hz lwa. United coolair mp controller installation manual. This picture's resolution is 498x398 pixels. See the following wiring diagrams for 120v and 240v. Evaporative cooler owner's manual evaporative cooler owner's manual evaporative cooling evaporative cooling is nature's way of cooling. I have the wiring diagram in the cooler. The above is a basic wiring schematic for a swamp cooler switch. 01 01 2018 wіrіng dіаgrаm for two speed mоtо еxрlаіnеd роwеr and соntrоl сіrсuіt f. Your home may be configured differently, but you should. Thankfully, the manual includes a wiring diagram, and it was easy to figure out how to add the feature. Evaporative swamp cooler wiring color codes.

01 01 2018 wіrіng dіаgrаm for two speed mоtо еxрlаіnеd роwеr and соntrоl сіrсuіt f. Designed and manufactured in australia. Diagram proform tachometer wiring diagram full version. Air cooler electrical wiring diagram. I can photograph and send it to you.

How To Connect New Thermostat To Ducted Heating And Swamp Cooler Air Conditioning Ifixit
How To Connect New Thermostat To Ducted Heating And Swamp Cooler Air Conditioning Ifixit from d3nevzfk7ii3be.cloudfront.net
Evaporative swamp cooler wiring color codes. Diagram also located on the inside lid of appliance control. Your home may be configured differently, but you should. (always follow the schematics that come with as you can see from the simple diagram above the only real worry to focus on is wiring the hot side (black. Walk in cooler wiring diagram | free wiring diagram sep 18, 2018collection of walk in cooler wiring diagram. Evaporative cooler owner's manual evaporative cooler owner's manual evaporative cooling evaporative cooling is nature's way of cooling. United coolair mp controller installation manual. Designed and manufactured in australia.

Your home may be configured differently, but you should.

A wiring diagram is a simplified standard related searches for evaporative cooler wiring diagram swamp cooler wiring diagram 120vswamp cooler switch wiring diagrammastercool. I have the wiring diagram in the cooler. Secure the power cable to prevent contact with sharp objects. Stereo output jack wiring diagram horse trailer wiring schematics wiring diagram for 1986 yamaha xt 350 garage door wiring 1988 astro van stereo wiring diagram. • spare 3.15 amp fuse for control. United coolair mp controller installation manual. A note about swamp coolers. (always follow the schematics that come with as you can see from the simple diagram above the only real worry to focus on is wiring the hot side (black. I'm getting an evaporative cooler installed soon, and i'd like to be able to control it through my nest. Portable evaporative air cooler for indoor use. Trimakasih iring diagram ini sangat membantu saya, saya menjumpai kasus ac split panasonic sering mati kapasitor fan indor, umur ac lebih pa tolong jelaskan dong deskripsi kerja wiring diagram tersebut. Outlet rating db 63 hz 125 hz 250 hz 500 hz 1k hz 2k hz 4k hz 8k hz lwa. See the following wiring diagrams for 120v and 240v.